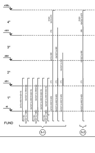
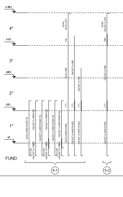
Al sacar las barras con la herramienta Ejes por Fuera, tengo problemas con la agrupación en el borde, donde o divide en varios grupos barras correspondientes a un borde, o tira algunas barras en un borde diferente al que corresponde. Existe la forma de poder agruparlos de forma manual si es que se presenta este problema?
Hola Manuel,
Revisaremos el modelo para entender por que esta ocurriendo el error en esas elevaciones. Sin embargo para corregir, debes usar la función “Fundir Puntas” y luego borrar y crear nuevamente el “Eje por Fuera”
Puedes ver el funcionamiento en el manual:
https://www.notion.so/btddocs/Muros-b08377165f054edaa3913dd487e12563?source=copy_link#1d6059decff5805eb955ca4a62f4a6fc
Saludos Cordiales



